
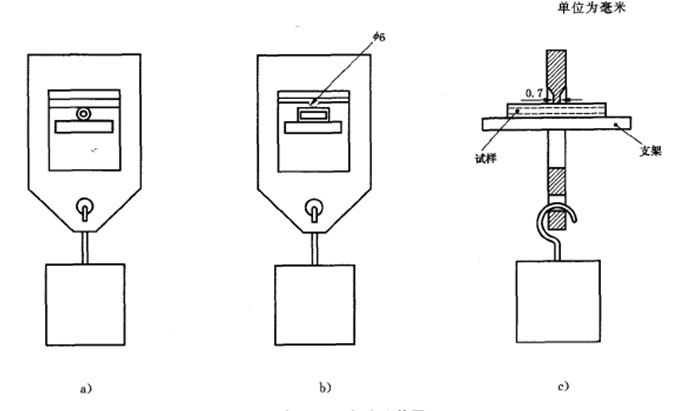
高温压力试验装置SC-GWY24
产品概述:
本装置符合BS1363 Figure 10、GB2099.1-2008第30.1条及图41、IEC60884-1-2002第30.1条及图41、IEC60598- 2-20第20.15条EN60811-3-1等标准要求。
用于插销绝缘护套的材料的耐恶劣环境的高温性能测试。

技术参数:
1、刀口厚度:0.7±0.01㎜ (圆形片和矩形片各1个)
2、负荷:2.5N砝码(或可调)
3、工位:2位。
序号 | 产品名称 | 规格 |
1 | 测试探针 Test pin (N推力) | BS1363-1 BS1363-2 Figure 1 |
2 | 弹性外壳的机 械强度试验装置 | BS1363-1 BS1363-2 Figure 2 |
3 | 插座最大拨出力规 | BS1363-1 BS1363-3 Figure 4 |
4 | 插头插销量规 通止规 | BS1363-1 BS1363-3 Figure 5 |
5 | 接头盖安装螺 丝的试验装置 | BS1363-1 BS1363-3 Figure 6 |
6 | 安装板(含吊重架子,夹脚夹具,砝码) | BS1363-1 BS1363-3 Figure 7 |
7 | 弹性插头弯曲 试验装置 (插脚弹性曲饶) | BS1363-1 BS1363-3 Figure 8 |
8 | 插座通规 (最大插脚通规 、最小插脚通规) | BS1363-1 BS1363-2 Figure 11 |
9 | 接触试验规 | BS1363-2 BS1363-3 Figure 12 |
10 | 非接触试验规 | BS1363-2 BS1363-3 Figure 14 |
11 | 插套横向应力规 (附带750g砝码) (转动力矩量规) | BS1363-2 Figure 15 |
12 | 插套拔出力规 a.E地端吊重规b.LN端吊重规 | BS1363-2 BS1363-3 Figure 16 |
13 | 温升试验的试 验装置与模拟 面板 | BS1363-1 BS1363-3 Figure17a.b |
14 | 不锈钢制实心 保险丝 | BS1363-1 BS1363-2 Figure 19 |
15 | 保险管的校正 夹具 | BS1363-1 BS1363-2 Figure 29 |
16 | 温升插头量规 | BS1363-2
BS1363-3 Figure 30 |
17 | 插销压力的试验装 置(含1100N 装置) | BS1363-1 BS1363-3 Figure 32 |
18 | 插销扭力装置 | BS1363-1 BS1363-3 Figure 33 |
联系我们,获取清单和详细资料。













联系我们,获取清单和详细资料。